
Compact design allows use regardless of the outer diameter of the slip ring.
This product can be used with both power and signal brushes.
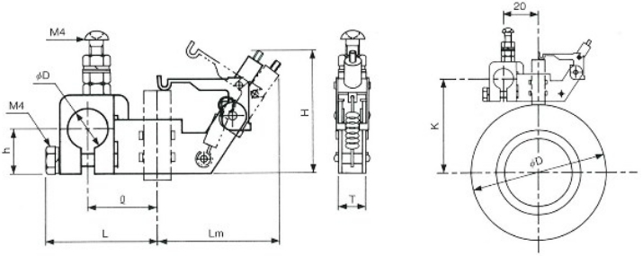
External dimensions


Compact design allows use regardless of the outer diameter of the slip ring.
This product can be used with both power and signal brushes.
